Produktnummer:
PROD227
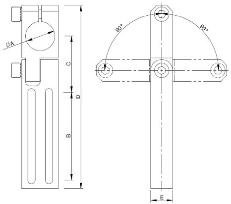
ACLS - Long Angle Clamp - Swivel Head
- Roborex
Dateien
Bilder
Spezifikation
Material: Aluminium Erhöhte Flexibilität bei der Positionierung der Komponenten, robuste Konstruktion gewährleistet Stabilität der Komponenten.
Produktnummer: