Produktnummer:
PROD237
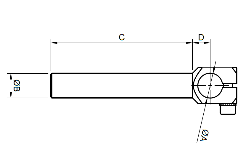
Angle Gripper Arm
- Roborex
Dateien
Bilder
Spezifikation
Produktübersicht:
Der Winkelgreiferarm ist eine wesentliche Komponente von End-of-Arm-Werkzeugsystemen, die speziell für präzise und effiziente Greifmöglichkeiten in verschiedenen Winkeln entwickelt wurde. Dieser Arm erweitert die Vielseitigkeit und Fu

